Products
Break Away Valve
Back to previous page
Break Away Valve
Overview
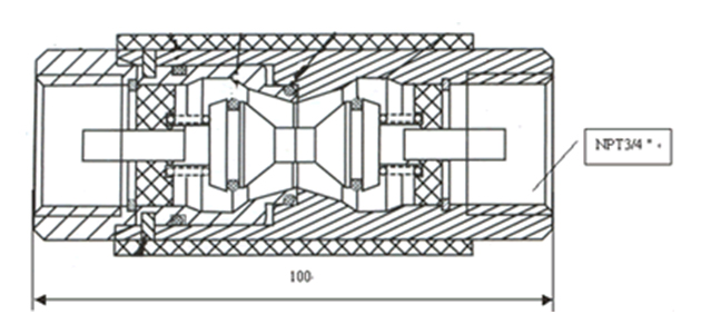
Break away valve is installed in the pipe of sending the fuel oil. When it is pulled with force, it will divide. The two valves come back to its position, and cut off the flow of the fuel oil in order to limit the leakage of the oil and protect the machine. Under the normal operation,3/4"break away valve must be installed on the pipe, which its stretchness is not less than 9,1"break away valve must be installed on the pipe, which its stretchness is not less than 12
Technical Performance
| Thread | BSPT/NPT | |
| Diameter | 3/4" | 1" |
| DMax.Pull | 800~1500N | 800~1500N |
| Flow Range | 0-60L/min | 0-120L/min |
Installation Dimension Drawing
